MAZDA RX-8 วาระสุดท้าย
1,300 cc. x 2 = 250 แรงม้า งานวิศวกรรมเครื่องยนต์สูบหมุนของค่ายรถยนต์เจ้าของสโลแกน Zoom Zoom ที่เน้นผลิตภัณฑ์ของตนไปในทิศทางของมอเตอร์สปอร์ต รถ Mazda RX-8 ใช้เครื่องยนต์โรตารี่ Renesis ที่มีขนาดเล็กกะทัดรัด และน้ำหนักเบากว่าเครื่องยนต์แบบปกติ แต่ให้แรงม้าและแรงบิดมากกว่าเครื่องยนต์สูบเรียงถึง 6 เท่าตัว เครื่องยนต์รุ่นนี้เคยกวาดรางวัลเครื่องยนต์ยอดเยี่ยมประจำปี 2006 แต่วันนี้ มันได้ถึงกาลอวสานเสียแล้ว...
รถสปอร์ต Mazda ตระกูล RX และเครื่องยนต์สูบหมุนแบบโรตารี่ คืองานวิศวกรรมชั้นเยี่ยมของค่ายรถยนต์ที่มักมุ่งเน้นผลิตภัณฑ์ของตนไปในทิศทางที่อิงกับกีฬามอเตอร์สปอร์ต บริษัท Mazda คือผู้สร้างยนตรกรรมที่มีความแปลกแยกแตกต่างจากรถญี่ปุ่นทั่วไป ทั้งจากรูปทรง เครื่องยนต์และระบบรองรับที่ไม่เป็นรองค่ายใด ภายในที่สวยงามจากการจัดวางอุปกรณ์และการเลือกใช้วัสดุ รวมถึงสมรรถนะของการขับขี่ที่ให้อารมณ์สนุกสนาน แม่นยำและควบคุมได้ดั่งใจ ลูกค้าส่วนใหญ่ของค่าย Zoom Zoom มักเลือกซื้อรถยนต์ที่มีสมรรถนะสูง รูปทรงกะทัดรัดและให้การยึดเกาะดีคล่องตัว มีมุมมองแบบสปอร์ตมากกว่ารถแบบจ่ายกับข้าวทั่วๆ ไป นับเป็นบุคลิกพื้นฐานของค่ายนี้ในทุกโมเดลไม่เว้นแม้แต่รถกระบะ จุดเด่นของรถสปอร์ตในโมเดล RX คือเครื่องยนต์สูบหมุนที่ทรงพลัง มีขนาดเล็ก ให้แรงม้าและแรงบิดอย่างล้นเหลือ แต่มันกำลังจะถึงวาระสุดท้ายแล้วอีกไม่นานต่อจากนี้ เนื่องจากมันไม่ผ่านเกณฑ์ค่าการปล่อย C02 ซึ่งทำให้ต้องยุติการจำหน่ายในทวีปยุโรปไปตั้งแต่ปี 2010 ตามมาด้วยการยกเลิกสายการผลิตในประเทศญี่ปุ่น เป็นการปิดฉากที่น่าเศร้า


Mazda Cosmo 1967-1972Mazda ผู้ผลิตรถยนต์จากเมืองฮิโรชิมา นำเอาเครื่ีองยนต์โรตารี่มาวางลงในรถยนต์รุ่น Cosmo ซึ่งเริ่มต้นออกวางขาย ในปี 1967 นับเป็นรถสปอร์ตคันแรกในค่าย Zoom Zoom ที่นำเครื่องยนต์แบบสูบหมุนมาใช้งาน รูปทรงที่สวยงามคลาสสิกของ Cosmo 1967 กับเครื่องยนต์สมรรถนะสูงของมัน กลายเป็นปรากฏการณ์ที่แปลกแหวกแนววงการยนตกรรม ของโลกในช่วงเวลานั้น เครื่องยนต์สูบหมุนของ Cosmo ให้กำลัง 128 แรงม้า เร่งจาก 0-100 กิโลเมตรใน 8.6 วินาที และมีความเร็วสูงสุดที่ 200 กิโลเมตรต่อชั่วโมง
Mazda RX-7 SA/FB 1978-1985มันคือรถสปอร์ตเครื่องยนต์โรตารี่ที่ทำเงินให้กับ Mazda อย่างเป็นกอบเป็นกำด้วยยอดขายกว่า 500,000 คัน รถ RX-7 รุ่นแรกสุดวางเครื่องยนต์สูบหมุนขนาด 1.3 ลิตร 135 แรงม้า (101kW) รหัส 13B RE-EGI เร่งจาก 0-100 กิโลเมตรได้ในเวลา 9.8 วินาที ความเร็วสูงสุด 198 กิโลเมตรต่อชั่วโมง เครื่องยนต์ขนาดเล็กที่ให้พลังงานสูงกลายเป็นที่นิยมในเวลาต่อมา โดยมีเจ้า RX-7 รุ่นแรกสุดเป็นผู้จุดประกาย


Mazda 787B Le Mans 1991Mazda 787B อนุพันธ์ุจักรกลสมรรถนะสูง รถแข่งในประเภทกรุ๊ป C สร้างขึ้นโดยทีมแข่งของ Mazda สำหรับใช้ในการแข่งขันรถยนต์ทางเรียบ ในรายการสปอร์ตเวิลด์แชมเปียนชิพ ของประเทศญี่ปุ่น และถูกส่งลงทำการแข่งขันในรายการแข่งรถแบบ 24 ชั่วโมง Le Mans ประจำฤดูกาล 1990-1991 รถแข่ง 787B มีน้ำหนักเพียง 850 กิโลกรัม วางเครื่องยนต์โรตารี่ที่ให้กำลังถึง 700 แรงม้า มันสามารถวิ่งเข้าเส้นชัยในอันดับที่ 1 c และคว้าชัยชนะอันน่าจดจำ ที่มีเหนือรถแข่งจากทีมแข่งของยุโรปร่วมลงทำการแข่งขันเป็นจำนวนมาก นับเป็นรถแข่งจากทวีปเอเชียและสร้างโดยคนเอเชียคันแรกที่ได้รับตำแหน่งชนะเลิศในรายการแข่งแบบมาราธอน 24 ชั่วโมง โรเตอร์สูบหมุนของเครื่องยนต์สามารถทำให้รอบความเร็วเพิ่มขึ้นถึงจุดเรดไลน์ อย่างรวดเร็ว วิศวกรของ Mazda ระบุว่า รถสามารถอัพกำลังของ เครื่องได้มากกว่า 930 แรงม้ากับเรดไลน์ที่ 10,500 รอบ/นาที ในระหว่างการตรวจสอบเครื่องยนต์หลังจบการแข่งขัน พวกเขาก็ค้นพบว่าทุกด้านของเครื่องยนต์ยังคงอยู่ในสภาพที่ดีเยี่ยมและสามารถเข้าการแข่งขันต่อไปได้อีก นอกจากนี้ ยังได้รับผลประโยชน์จากหัวเทียนชนิดพิเศษบนโรเตอร์ ทำให้รถประหยัดเชื้อเพลิงมากขึ้น และการปรับปรุงการเผาไหม้ที่ถูกติดตั้งอยู่ด้านหน้าและอากาศพลศาสตร์ของรถก็ออกแบบได้ดีทั้งด้านข้าง และด้านบน ซึ่งทั้งหมดนี้ นับเป็นจุดเด่นที่ทำให้รถตัวนี้สามารถสร้างชื่อเสียงอย่างยิ่งใหญ่ให้กับ ค่าย Zoom Zoom


Mazda RX-7 FC 1986-1988ช่วงอายุที่สั้นของ RX-7 FC เจเนอร์เรชั่นที่สอง ทำให้ยอดขายของรถรุ่นนี้ไม่ค่อยดีเท่าที่ีควร รถ RX-7 ในรุ่นนี้มีชื่อเรียกว่า Savanna ในรูปทรงของมันมีความคล้าย Porsche 924 -944 หัวหน้าวิศวกรโครงการ Arkio Uchiyama จดจ่ออยู่กับรูปลักษณ์อันทรงพลังของ Porsche 944 โดยได้รับแรงบันดาลใจในการออกแบบให้มันกลายเป็นรถสปอร์ตสองประตูสำหรับตลาดในอเมริกา ซึ่งส่วนใหญ่ซื้อรถ RX รุ่นแรกไปใช้งานแล้วติดอกติดใจ ทีมงานออกแบบใช้เวลาพัฒนาตัวรถต้นแบบในประเทศสหรัฐอเมริกา โดยทำการศึกษาความต้องการของลูกค้าที่ชื่นชอบรถสปอร์ตพลังสูง ระบบต่างๆ ของ RX-7 FC ได้รับการปรับปรุงอย่างมาก เพลากลางส่งกำลังไปยังล้อหลังที่มีน้ำหนักเบา พวงมาลัยแม่นยำมากขึ้น และเครื่องยนต์สูบนอนอัดอากาศด้วยเทอร์โบอินเตอร์คูลเลอร์ เครื่องยนต์สูบหมุนโรตารี่ ปริมาตรความจุ 1.3 ลิตร 202 แรงม้า (151kW) รหัสเครื่อง 13B เร่งจาก 0-100 กิโลเมตรใน 7.2 วินาที ความเร็วสูงสุด 225 กิโลเมตรต่อชั่วโมง บนน้ำหนักตัว 1,270 กิโลกรัม


Mazda RX-7 FD 1992-2002รุ่นที่สามของ RX-7 ใช้รหัสตัวถัง FD มีความโดดเด่นจากการออกแบบรูปทรงที่ปราดเปรียวเพียวลม มันวางเครื่องยนต์สูบหมุน 13B-REW ระบบอัดอากาศเทอร์โบชาร์จเจอร์คู่ ตัวรถรุ่นแรกมีกำลัง 255 แรงม้า (188 กิโลวัตต์; 252 hp) ผลิตออกขายในปี 1993 และหลังจากนั้น เครื่องยนต์ถูกพัฒนาให้มีกำลังมากถึง 280 แรงม้า (206 กิโลวัตต์; 276 hp) เมื่อสิ้นสุดสายการผลิตในประเทศญี่ปุ่นเมื่อปี 2002 FD RX-7 รุ่นที่สามมีชิ้นงานทางด้านวิศวกรรมที่สลับซับซ้อน ระบบอัดอากาศประกอบด้วย Turbochargers ขนาดเล็ก ตัวแรกให้กำลังแรงบิดในรอบต่ำ ในขณะเร่งเต็มกำลังเทอร์โบชาร์จเจอร์ตัวแรกสร้างแรงดันถึง 10 psi (0.7 บาร์) เมื่อหมุนเพียงแค่ 1,800 รอบต่อนาที ส่วนเทอร์โบตัวที่สอง จะทำงานที่ 4,000 รอบต่อนาที กระบวนการเปลี่ยนแปลงเกิดขึ้นที่ 4,500 รอบ สามารถสร้างแรงดึงอย่างต่อเนื่องชนิดหน้าหงายได้เลยทีเดียว เครื่องยนต์สูบหมุนควบคุมการทำงานด้วย ECU ซึ่งเป็นสมองกลไฟฟ้าขนาด 16-bit ให้สมรรถนะด้านอัตราเร่ง 0-100 กิโลเมตรใน 5.3 วินาที ความเร็วสูงสุดอยู่ที่ 250 กิโลเมตรต่อชั่วโมง


เครื่องยนต์โรตารี่ Renesis ยุคใหม่ในรถ Mazda RX-8 มีขนาดเล็กกระทัดรัดและน้ำหนักเบากว่าเครื่องยนต์แบบปกติ การออกแบบผนังห้องเครื่องเพื่อให้เกิดความสมดุลในการกระจายน้ำหนักทำได้ง่าย งานวิศวกรรมเครื่องยนต์สูบหมุนแบบโรเตอร์ที่คิดค้นขึ้นโดยช่างชาวเยอรมัน ถูกสานต่อบนสายพันธุ์รถสปอร์ตของ Mazda มานานกว่า 30 ปีแล้ว ลูกสูบแบบสามเหลี่ยมในเครื่องโรตารี่ของ Mazda สามารถสร้างแรงม้าได้มากกว่าเมื่อเทียบกับปริมาตรความจุที่เท่ากันของเครื่องยนต์แบบสูบชัก ปริมาณของชิ้นส่วนต่างๆ ที่เคลื่อนไหวอยู่ในเครื่องโรตารี่น้อยกว่าเกือบเท่าตัว ส่งผลให้เครื่องยนต์ชนิดนี้มีน้ำหนักเบาและมีจุดศูนย์ถ่วงต่ำมาก การส่งกำลังจากลูกสูบไปยังเพลาเยื้องศูนย์จะอยู่บนแกนเดียวกัน ต่อเนื่องไปถึงเพลาส่งกำลังและเพลากลาง เครื่องยนต์โรตารี่จึงมีการสูญเสียกำลังระหว่างจุดเชื่อมถ่ายน้อยกว่า เครื่องยนต์สูบชักแบบเห็นๆ


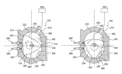
หลักการทำงานของเครื่องยนต์โรตารี่ ซึ่งไม่มีลูกสูบชักขึ้น - ลง เหมือนเครื่องยนต์ปกติ ไม่มีก้านสูบ ลิ้นและสปริงรวมถึงเพลาลูกเบี้ยวที่ค่อยข้างมีความเสถียรน้อยกว่าเมื่อทำงาน เครื่องยนต์โรตารี่จึงเป็นเครื่องยนต์ที่มีห้องเผาไหม้แบบเดี่ยว ภายในห้องเผาไหม้ของเครื่องยนต์ชนิดนี้มีีส่วนที่เคลื่อนไหวอยู่สองส่วนคือ โรเตอร์หรือลูกสูบทรงสามเหลี่ยมด้านเท่า ชิ้นส่วนอีกชิ้นคือ แครงชาร์ฟที่อยู่ในโรเตอร์ ปลายทั้งสามของโรเตอร์ จะหมุนไปรอบๆ ห้องเผาไหม้ ส่วนที่แบ่งออก เป็นสามส่วนของผนังสูบจะทำให้กำลังอัดของเครื่องโรตารี่เพิ่ม หรือลด แล้วแต่การหมุนของโรเตอร์ว่าอยู่ในตำแหน่งใด หลักแนวคิดของเครื่องยนต์โรตารี่หรือ Wankel (คิดค้นขึ้นโดยวิศวกรชาวเยอรมันชื่อ Felix Wankel) ใช้โรเตอร์หนึ่งตัวรูปสามเหลี่ยม หมุนอยู่ในเสื้อสูบรูปวงรี การหมุนครบหนึ่งรอบมีระบบการทำงานที่คล้ายเครื่องยนต์สี่จังหวะ คือ ดูด-อัด-ระเบิด-คาย โดยโรเตอร์เพียงตัวเดียวทำหน้าที่ทั้งหมด ในยุคแรกเริ่ม เครื่องยนต์ชนิดนี้ถูกนำมาวางในรถเยอรมันยี่ห้อ NSU และได้รับความนิยมพอสมควรแต่ไม่ค่อยกว้างขวางเท่าใดนัก


เมื่อเครื่องยนต์โรตารี่ถูกออกแบบให้มีการส่งถ่ายกำลังอยู่ในแกนเดียวกัน ทำให้สามารถวางเครื่องในระดับที่ต่ำมาก ส่งผลไปถึงค่า Center Of Gravity (CG) ที่ต่ำกว่าปกติ ได้เปรียบรถยนต์แบบอื่นในด้านการทรงตัว รอบเครื่องที่จัดจ้านมากกว่าเครื่องสูบเรียงทำให้ขับสนุกและให้ย่านกำลังแรง บิดที่ต่อเนื่องตั้งแต่รอบต่ำไปจนถึงรอบสูงสุด การที่มันไม่มีชิ้นส่วนพวกวาล์ว โดยผนังด้านข้างเสื้อสูบจะมีพอร์ตหลัก 2 พอร์ตคือ พอร์ตไอดีและพอร์ตไอเสีย ทำหน้าที่ป้อนไอดีหรือเชื้อเพลิงกับอากาศ และพอร์ตไอเสียสำหรับการระบายไอเสียจากการเผาไหม้ที่สมบูรณ์ออกจากกระบอกสูบ รูปทรงรีของผนังกระบอกสูบและเพลาเยื้องศูนย์จะให้มุมของลูกสูบทั้งสามมุม เมื่อมันทำงานโดยหมุนตามเข็มนาฬิกาจะรีดทั้งไอดีและไอเสียไปตามผนังกระบอกสูบ หลังจากไอดีถูกดูดผ่านเข้ามาทางพอร์ตไอดีเป็นการทำงานในสเต็ปแรกแล้ว สเต็ปที่สอง-รูปทรงของผนังกระบอกสูบจะบังคับให้ไอดีดังกล่าวถูกบีบอัดลด พื้นที่ลง สเต็ปที่สาม เมื่อไอดีถูกบีบอัดจนร้อนและมีความดันสูงขึ้น มันจะระเบิดด้วยการจุดประกายไฟจากหัวเทียน 2 ตำแหน่ง แรงระเบิดจะเป็นแรงผลักดันให้ลูกสูบหมุนเคลื่อนที่ต่อไป จนกระทั่งไอเสียที่เกิดขึ้นจากการสันดาปผ่านพอร์ตไอเสียออกไปสู่บรรยากาศ หรือที่ช่างเครื่องยนต์เรียกกันทั่วไปว่า จังหวะคายนั่นเอง


จังหวะของการหมุนในเสต็ปถัดไป ก็จะหมุนเวียนไปเข้าสู่จังหวะดูดอีกครั้ง ต่อเนื่องวนเวียนอยู่แบบนี้จนกว่าเชื้อเพลิงในถังจะหมดลง เช่นเดียวกับวัฏจักรการทำงานของเครื่องยนต์สูบชัก 4 จังหวะ แต่เครื่องยนต์แบบโรตารี่ของ Mazda RX-8 จะใช้การทำงานของลูกสูบแบบสามเหลี่ยมที่หมุนเป็นวงกลมภายในผนังกระบอกสูบรูป ทรงรี การหมุนของลูกสูบในเครื่องโรตารี่จำนวน 1 รอบ จะได้กำลังจากการระเบิดถึง 3 ครั้ง ในขณะที่เครื่องยนต์แบบสูบชักจะต้องหมุนถึง 2 รอบ แล้วสร้างกำลังได้แค่ครั้งเดียว เมื่อเปรียบเทียบกันแล้ว เครื่องโรตารี่ของ RX-8 จะมีประสิทธิภาพสูงกว่าเครื่องสูบชักในปริมาตรความจุซีซีเท่ากันถึง 6 เท่า การพัฒนาเครื่องสูบหมุนที่ไม่เคยหยุดยั้งของค่าย Zoom Zoom ก่อกำเนิดวิศวกรรมทางการขับเคลื่อนที่เป็นเอกเทศ ถึงแม้มันจะไม่ค่อยได้รับความนิยมจากปัญหาในเรื่องของความร้อนและการสึกหรอ ที่มากกว่าเครื่องสูบชักจากการหมุนที่รวดเร็วของลูกสูบ แต่ปัญหาดังกล่าวได้รับการปรับปรุงแก้ไขอยู่ตลอดเวลาในห้องทดสอบเครื่องยนต์ ของบริษัท Mazda การใช้วัสดุที่แข็งแกร่งทนทานมากขึ้นช่วยเพิ่มความมั่นใจให้กับผู้ใช้รถ Mazda ที่วางเครื่องโรตารี่ เช่น โมเดล Crossmo ในยุค 70 ถัดมาในยุค 80 ด้วยตัวรถที่ร้อนแรงรุ่น RX-3 ต่อเนื่องด้วย RX-7 อีกสามโมเดลคือรหัส FA/FC/FD และมาถึงยุคปัจจุบันในโมเดล RX-8


การปรับปรุงเพื่อลบล้างจุดด้อยบางอย่างของเครื่องโรตารี่ใน Mazda RX-8 เช่น เพิ่มความคงทนด้วยการเคลือบผนังห้องลูกสูบด้วยสารหล่อลื่นพิเศษ ลดการใช้เชื้อเพลิงจากเครื่องโรตารี่ในรุ่นเก่าที่ใช้เชื้อเพลิงในปริมาณ มากกว่าเครื่องสูบเรียง (จากที่ต้องหมุนในรอบสูงกว่ามากและผ่านการอัดอากาศจากเทอร์โบในรุ่นที่แล้ว) รวมถึงการลดมลพิษ จากการปล่อย CO2 ได้ดีขึ้น ผ่านมาตรฐานการควบคุมมลพิษของยุโรปที่เข้มงวด เครื่อง Renesis Rotary ของ RX-8 จึงเป็นเครื่องสูบหมุนที่หายใจด้วยตัวเองโดยไม่มีระบบอัดอากาศมาคอยเพิ่มแรง ม้าแต่อย่างใดทั้งสิ้น การออกแบบผนังกระบอกสูบรูปวงรีใหม่หมด ด้วยการจัดวางพอร์ตไอดีและพอร์ตไอเสียใหม่ เพื่อทำให้จังหวะการ Overlap หมดไป (จังหวะ Overlap คือ จังหวะที่พอร์ตไอดีและพอร์ตไอเสียเปิดขึ้นพร้อมกัน) ไอดีของเครื่อง Renesis Rotary รุ่นใหม่ ที่วางอยู่ใน RX-8 จะไม่หลุดไปทางพอร์ตไอเสียเหมือนเครื่องโรตารี่ในรถสปอร์ตตระกูล RX รุ่นเก่า เปลี่ยนหัวฉีดเชื้อเพลิงจากหัวเดี่ยวมาเป็นแบบคู่ ทำให้การเผาไหม้สมบูรณ์ขึ้น


ในเครื่องโรตารี่รุ่นใหม่ Renesis Rotary ของ RX-8 วิศวกรของ Mazda จึงเพิ่มพอร์ตไอดีเข้าไปอีก 1 พอร์ต เพิ่มปริมาณอากาศเข้าสู่ห้องเผาไหม้อีก 30% ตามความต้องการของเครื่องยนต์ รวมถึงการออกแบบโดยไม่พึ่งพาระบบอัดอากาศ ลูกสูบจำนวน 2 ตัวหรือ 2 โรเตอร์ในเครื่อง Renesis Rotary จะมีพอร์ตไอดีรวมทั้งสิ้น 6 พอร์ต รอบการหมุนสูงสุดที่เคยมากถึง 9,500-10,000 รอบต่อนาที ในเครื่องตัวเก่าถูกลดระดับลงเหลือเพียง 9,000 รอบต่อนาที เครื่องโรตารี่รุ่นใหม่นี้ สามารถสร้างแรงม้าได้ถึง 250 ตัว และเมื่อมันมีพอร์ตไอดีที่เพิ่มขึ้นจึงต้องมีระบบป้อนอากาศให้เข้าสู่ห้อง เผาไหม้สัมพันธ์ไปกับความต้องการของเครื่องยนต์ เป็นหน้าที่ของระบบ FAD ระบบที่กล่าวมานี้จะทำหน้าที่ควบคุมท่อทางเดินของอากาศภายในท่อร่วมไอดี ใช้วาล์วขนาดเล็กคอยปิด-เปิดทางเดินอากาศในท่อต่างๆ จำนวน 2 ตัว คือ Variable Intake Valve และ Secondary Shutter Valve ในระดับ High Power Unit จะมีชุด Auxiliary Port Valve เพิ่มขึ้นอีก 1 ตัว การทำงานของวาล์วทั้ง 3 ตัวจะสัมพันธ์ไปกับองศาการเปิดของลิ้นปีกผีเสื้อแบบไฟฟ้า (Throttle Valve) การทำงานของระบบ FAD นอกจากช่วยในการรีดแรงม้าแล้ว ยังช่วยสร้างแรงบิดในรอบต่ำอีกด้วย เพียงแต่ในเครื่องยนต์ Renesis Rotary ของ RX-8 เครื่องยนต์จะทำงานในรอบต่ำเกินกว่า 5,000 รอบต่อนาที


สิ่งที่สร้างปัญหาให้กับเครื่องโรตารี่จนทำให้มันใกล้ถึงแก่การอวสาน คือการสึกหรอของมุมหัวโรเตอร์ทั้งสามด้านที่ต้องหมุนด้วยความเร็วสูง แม้ลูกสูบสามเหลี่ยมของมันจะผลิตมาจากอัลลอยชนิดพิเศษที่มีความแข็งแกร่ง ทนทานมากก็ยังไม่อาจทนต่อการใช้งานเมื่อมันต้องพบกับอุณหภูมิที่สูงอยู่ตลอดเวลาหาก ขับใช้งานในรอบสูงๆ อย่างต่อเนื่อง เครื่องยนต์ยังกินเชื้อเพลิงมากว่าเครื่องแบบสูบเรียง รวมถึงความเสียเปรียบเครื่องยนต์รุ่นใหม่ที่มีขนาดเล็กลง กินเชื้อเพลิงเท่าที่จำเป็น มีแรงบิดที่ดีตั้งแต่รอบต่ำถึงปานกลาง และปล่อยมลพิษน้อยกว่าเดิมมาก บริษัท Mazda พัฒนาเครื่องยนต์ที่ใช้เทคโนโลยี Sky Active กับรถรุ่นใหม่ล่าสุด ขุมกำลังแบบใหม่มีการปรับปรุงแก้ใขให้มีสมรรถนะที่ดี มีขนาดเล็กและกินเชื้อเพลิงไม่มาก ให้กำลังเทียบเท่าหรือดีกว่าเครื่องยนต์ที่มีขนาดใหญ่ และนี่คือจุดสุดท้ายที่เครื่องยนต์โรตารี่ของ Mazda ได้เดินทางมาถึง เมื่อเครื่องยนต์ชนิดนี้และโมเดล RX-8 ต้องยุติสายการผลิตลงอย่างสิ้นเชิงในปี 2012 เหลือไว้เพียงตำนานอันยิ่งใหญ่ที่มันเคยฝากผลงานไว้ในวงการมอเตอร์สปอร์ตให้ ได้จดจำว่าครั้งหนึ่ง Mazda เคยมีเครื่องยนต์ที่ทรงประสิทธิภาพแต่กลับไม่ได้รับความนิยมเท่าที่ควร
ขอขอบคุณ: ไทยรัฐออนไลน์ที่ให้ความอนุเคราะห์ข้อมูล จากคอลัมน์ Man & Machine
โดย อาคม รวมสุวรรณ Man & Machine